Клиновые фланцевые задвижки AVK (АВК, Дания) применяются в системах водоснабжения, где основной транспортируемой средой является вода, а также нейтральные жидкости, температура которых не превышает 70 градусов.
Основные компоненты задвижек этого типа изготавливаются из высококачественной нержавеющей стали, в качестве вспомогательных материалов служат ковкий чугун, алюминий, полиэтилен высокой плотности. Антикоррозионная защита устройства осуществляется за счет обработки всех поверхностей такими компонентами, как синтетическая грунтовка и специальная слюдосодержащая краска.
По стандарту EN 1074-1 и 2 / EN 11712
Расстояние между торцами EN 558-F14 (DIN 3202, часть 1 F4)
Размеры фланцев и отверстий: по ISO 7005-2 (EN 1092-2: 1997, DIN 2501)
Применение:
для воды, сточных вод и нейтральных жидкостей с температурой до 70°C
Испытание:
Гидравлическое испытание по 1074-1 и 2 / EN 12266
- Седло : 1,1 х PN
- Корпус: 1,5 х PN
Проверка рабочего крутящего момента
Дополнительные принадлежности по заказу:
- Штурвал
- Удлинитель штока
- Насадка штока
- Фланец переходной
Сертификаты:
Серия 06/30
ÖVGW - рег. № W1.121
Серия 26/00
DVGW-рег. № 81.03 e 397 (DN 350-400 в процессе получения)
Применяемые материалы:
- Корпус и крышка - ковкий чугун, GJS-500-7, по EN 1563 (GGG-50 по DIN 1693)
- Покрытие
Серия 06/30
Эпоксидное, по DIN 30677-2 и GSK, нанесенное электростатическим способом
Серия 26/00
Снаружи порошковое эпоксидное по DIN 30677-2 и GSK, нанесенное электростатическим способом, внутри – эмаль по DIN 3475
- Шток - нержавеющая сталь, DIN x 20 Cr 13
- Уплотнение штока - грязесъемное кольцо из NBR, 2 кольца кругл.сеч. из NBR внутри и 2 кольца снаружи пластмассового подшипника, манжета из EPDM
- Клин - ковкий чугун ; сердечник полностью вулканизирован EPDM; интегральная гайка клина из устойчивой к обесцинкиванию латуни CW602N по EN12167 (CZ 132 по BS 2874)
- Упорное кольцо - устойчивая к обесцинкиванию латунь CW602N по EN12165 (CZ 132 по BS 2872)
- Болты крышки - нержавеющая сталь А2, пломбированы термоклеем
- Прокладка крышки - резина EPDM
Габаритные и присоединительные размеры магистральной задвижки AVK типа 06/30
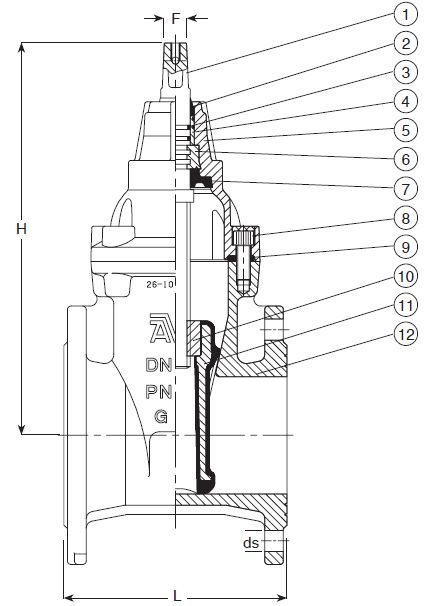
Компоненты:
1. Шток
2. Кольцо грязесъемное из NBR
3. Кольцо кругл. сечения из NBR
4. Подшипник
5. Крышка
6. Упорное кольцо
7. Манжета из EPDM
8. Болт крышки
9. Прокладка крышки
10. Гайка клина
11. Клин
12. Корпус
